云开中国股份有限公司-Kaiyun·(官方网站)

新闻动态
作为全球领先的玻璃制造企业,云开中国持续推动行业技术升级,助力节能环保发展。

宝泰隔热条小课堂—中空玻璃内部结露原因及控制措施分析

日期:2025-11-03 浏览: 

  云开(Kaiyun)内部结露是中空玻璃密封失效的一种典型形式,典型的中空玻璃结露现象是什么样的,什么是中空玻璃露点,露点与温度和相对湿度的关系如何,中空玻璃露点如何试验,中空玻璃露点的影响因素和控制措施有哪些?

  内部结露是中空玻璃密封失效的一种典型形式。某调查显示,中空玻璃使用两年后失效率为3%~5%,其中6成是中空玻璃内部结露,典型现象见下图。

宝泰隔热条小课堂—中空玻璃内部结露原因及控制措施分析(图1)

  结露会使玻璃的透明度降低,影响保温隔热效果,水汽聚集还会产生霉变,严重时出现外侧玻璃脱落的安全事故。

宝泰隔热条小课堂—中空玻璃内部结露原因及控制措施分析(图2)

  露点是指密封于空气层中的空气湿度达到饱和状态时的温度,是反映中空玻璃密封性能的重要指标。当中空层内的玻璃表面温度低于空气层内空气的露点时,空气中的水就会在玻璃内表面结露或结霜。

  露点与空气的温度和相对湿度有一一对应关系。相对湿度越高,露点温度也越高;反之,相对湿度越低,露点温度也越低。

  露点与空气温度和相对湿度的关系可以通过几种方式得到:焓湿图、查表法、公式法等。

  焓湿图法。通过查询焓湿图中干球温度、相对湿度、等焓线等来确定露点温度,典型焓湿图见下图。

宝泰隔热条小课堂—中空玻璃内部结露原因及控制措施分析(图3)

  查表法。通过查询不同温度时饱和水蒸汽分压力来计算某温度和相对湿度下的露点温度,标准大气压下不同温度时饱和水蒸汽分压力见下表。

宝泰隔热条小课堂—中空玻璃内部结露原因及控制措施分析(图4)

  以20 ℃时相对湿度50%为例,饱和水蒸气分压力为2337.1×50% = 1168.55,对应的温度为约为9.3 ℃,即为对应的露点温度。

  公式法。按JGJ/T 151-2008《建筑门窗玻璃幕墙热工计算规程》中“5.2 露点温度计算”给出的公式进行计算。

宝泰隔热条小课堂—中空玻璃内部结露原因及控制措施分析(图5)

  这是笔者归纳的三种确定露点温度的方法,焓湿图法、查表法、公式法,通过理论可以确定某温度和相对湿度下的露点温度,为中空玻璃内部结露控制提供理论基础。

  中空玻璃露点试验方法在GB/T 11944-2012《中空玻璃》和GB50411-2019《建筑节能工程施工质量验收标准》给出了相应规定。

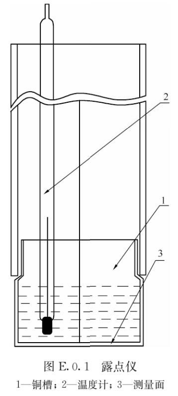
  GB/T 11944-2012《中空玻璃》中给出了“中空玻璃的露点应<-40 ℃”的要求,并在“7.3 露点试验”中给出了相应的试验方法。

  试验设备:露点仪,测量面为铜质材料,测量范围可达到-60℃,精度≤1 ℃。

  GB 50411-2019《建筑节能工程施工质量验收标准》的“附录E 中空玻璃密封性能检验方法”中给出了中空玻璃密封性能检验方法,即露点测试方法。

宝泰隔热条小课堂—中空玻璃内部结露原因及控制措施分析(图6)

  这里需要强调的是,GB 50411-2019《建筑节能工程施工质量验收标准》的“5.2.2”和“6.2.2”幕墙和门窗性能复验时的“中空玻璃密封性能”与GB/T 11944-2012《中空玻璃》中所说的密封性能是不同的。

  GB50411-2019中的中空玻璃密封性能按“附录E”进行试验,其实就是测试中空玻璃露点;而GB/T 11944-2012中的密封性能则有“水气密封耐久性能”和“气密密封耐久性能”,与“露点”为并列关系。GB50411-2019进行工程验收时,中空玻璃密封性能即露点。

  1、生产环境的相对湿度。生产环境的相对湿度主要会影响干燥剂的有效吸附能力和剩余吸附能力。当中空玻璃合片空间相对湿度较大时,一方面中空玻璃空气层中含水汽较大,另一方面干燥剂的剩余吸附能力将会降低,尤其是干燥剂在空气中暴露时间过长时。

  2、干燥剂填充量和质量。一些手工灌装干燥剂的工艺无法保证稳定的填充量,导致干燥剂吸附量不足;某些劣质干燥剂无法有效吸附水分子,或与水分子发生反应出现间隔条腐蚀现象等。

  3、边部密封质量。大多数中空玻璃水汽密封靠的是丁基胶,有些采用人工涂抹丁基胶时质量难以保证,会导致密封失效;部分二道密封胶中掺杂白油,溶解丁基胶造成流油和水汽渗漏;Low-E玻璃边部未除膜或处理不彻底,边部密封胶粘结不可靠,水汽侵入导致膜层氧化等。

  由此可知,严格控制中空玻璃生产时的相对湿度和干燥剂在空气中的暴露时间,选择优质干燥剂和稳定可靠的填充工艺,保证丁基胶和二道密封胶材料和打胶质量,并进行及时有效的质量检测是控制中空玻璃露点的关键。

  特别声明:以上内容(如有图片或视频亦包括在内)为自媒体平台“网易号”用户上传并发布,本平台仅提供信息存储服务。

  女子被通知面试,到场以“无经验”被刷,走后越想越气跑回去据理力争:“为什么不看简历?车费不要钱吗”

  妹子“把胸放桌上休息”被拍走红!女菩萨们不服发照片PK:最后这波赢麻了

  广东迎咀水库放生大量猫咪引发关注,知情人:很多曾被放生到水库的猫已活活饿死

  人间洞察者,热点评析、冷知趣谈,生活哲学尽在 “有话说”,邀你共探思维妙趣。

  曼城3-1升第2距榜首6分!终结黑马8轮不败 哈兰德双响+10轮轰13球